Cargo Restraint Strap Assemblies

Civil aviation standards:
CTSO/TSO-C172a Cargo Restraint Strap Assemblies

Technical standard:
SAE AS 5385 C Cargo Restraint Straps-Design Criteria and Testing Methods;
SAE AIR 1490B Environmental Degradation of Textiles

Flammability requirements:
CCAR-25,Appendix F, Part I, Paragraph (a)(2)(ⅳ)

 

C

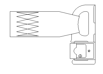
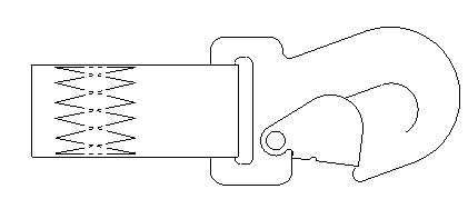
Tensioning Devices

B

Webbing

D

End Fitting

 

C: Tensioning Devices-Options

Option 1: Ratchet Devices

Option 2: Overcenter Buckles

B: Webbing Devices-Options

 

Tensile strength of Straps ≥5000lbf/22250N

Webbing Width: 45mm

Webbing Color Options White/Orange/Green/Blue/Black or Other

Flammability requirement :CCAR25.853 Appendix F Part 1.(a)(2)(ⅳ)

Degradation requirement :AIR1490 B Environmental Degradation of Textiles

 

 

D: End Fitting -Options

 

Option 1:

-Double Stud Fitting

Option 2:

- Double Stud Fitting (With ring)

Option 3

-Snap Hook

Option 4

- Double Stud Fitting + Snap Hook

Option 5

- Double Stud Fitting (With ring) + Snap Hook

Option 6

- Double Stud Fitting (With ring) /Snap Hook

 

TYPE: XH-10DXX:

XH-10D: The Type of Cargo Restraint Strap Assemblies;

XX:     Configuration code

Configuration

No.

XX

Description

Fixed End

Fitting

Tensioning Devices

Adjustable End

Fitting

1

10

Double Stud Fitting

Ratchet Devices

Double Stud Fitting

2

11

Double Stud Fitting

Ratchet Devices

Double Stud Fitting(With ring)

3

12

Double Stud Fitting

Ratchet Devices

Snap Hook

4

13

Double Stud Fitting

Ratchet Devices

Double Stud Fitting+Snap Hook

5

14

Double Stud Fitting

Ratchet Devices

Double Stud Fitting(With ring)+Snap Hook

6

15

Double Stud Fitting

Ratchet Devices

Double Stud Fitting(With ring)/Snap Hook

7

20

Snap Hook

Ratchet Devices

Double Stud Fitting

8

21

Snap Hook

Ratchet Devices

Double Stud Fitting(With ring)

9

22

Snap Hook

Ratchet Devices

Snap Hook

10

23

Snap Hook

Ratchet Devices

Double Stud Fitting+Snap Hook

11

24

Snap Hook

Ratchet Devices

Double Stud Fitting(With ring)+Snap Hook

12

25

Snap Hook

Ratchet Devices

Double Stud Fitting(With ring)/Snap Hook

13

30

Double Stud Fitting(With ring)

Ratchet Devices

Double Stud Fitting

14

31

Double Stud Fitting(With ring)

Ratchet Devices

Double Stud Fitting(With ring)

15

32

Double Stud Fitting(With ring)

Ratchet Devices

Snap Hook

16

33

Double Stud Fitting(With ring)

Ratchet Devices

Double Stud Fitting+Snap Hook

17

34

Double Stud Fitting(With ring)

Ratchet Devices

Double Stud Fitting(With ring)+Snap Hook

18

35

Double Stud Fitting(With ring)

Ratchet Devices

Double Stud Fitting(With ring)/Snap Hook

19

40

Double Stud Fitting

Overcenter Buckles

Double Stud Fitting

20

41

Double Stud Fitting

Overcenter Buckles

Double Stud Fitting(With ring)

21

42

Double Stud Fitting

Overcenter Buckles

Snap Hook

22

43

Double Stud Fitting

Overcenter Buckles

Double Stud Fitting+Snap Hook

23

44

Double Stud Fitting

Overcenter Buckles

Double Stud Fitting(With ring)+Snap Hook

24

45

Double Stud Fitting

Overcenter Buckles

Double Stud Fitting(With ring)/Snap Hook

25

50

Snap Hook

Overcenter Buckles

Double Stud Fitting

26

51

Snap Hook

Overcenter Buckles

Double Stud Fitting(With ring)

27

52

Snap Hook

Overcenter Buckles

Snap Hook

28

53

Snap Hook

Overcenter Buckles

Double Stud Fitting+Snap Hook

29

54

Snap Hook

Overcenter Buckles

Double Stud Fitting(With ring)+Snap Hook

30

55

Snap Hook

Overcenter Buckles

Double Stud Fitting(With ring)/Snap Hook

31

60

Double Stud Fitting(With ring)

Overcenter Buckles

Double Stud Fitting

32

61

Double Stud Fitting(With ring)

Overcenter Buckles

Double Stud Fitting(With ring)

33

62

Double Stud Fitting(With ring)

Overcenter Buckles

Snap Hook

34

63

Double Stud Fitting(With ring)

Overcenter Buckles

Double Stud Fitting+Snap Hook

35

64

Double Stud Fitting(With ring)

Overcenter Buckles

Double Stud Fitting(With ring)+Snap Hook

36

65

Double Stud Fitting(With ring)

Overcenter Buckles

Double Stud Fitting(With ring)/Snap Hook